20+ Kubota B6200 Parts
Web Check out our kubota b6200 parts selection for the very best in unique or custom. Web We have a huge collection of Kubota B6200 parts available including genuine and.
Farm And Dairy Newspaper Volume 104 Issue 22 Date 2 14 2019 By Farm And Dairy Newspaper Issuu
Web Kubota B6200 B Series Compact Parts Categories Axles Power Train.

. Web Kubota B6200E 2wd Parts. Web Find many great new used options and get the best deals for Kubota B6200 B7200. Web About the Kubota B6200.
Web This item fits Kubota B6200 B Series Compact Overall height. Bonnes affaires sur les kubota pièces détachées dans bricolage sur Amazon. Ad Parcourez notre univers de bricolage.
Web Frequently Purchased Parts. Coleman Equipment offers genuine. Web Kubota B6200D 4WD Tractors Parts Common Service Parts and.
Web 15531-65950 New Glow Plug Indicator Fits Kubota B5200 B6200 B7200 B8200 L235. Web Looking for parts for Kubota B9200 4WD Tractors. Web Kubota G6200 Parts.
Kubota Parts 18 Kubota Fluids 9 Kubota Filters 6. Web Listed on this page are parts suitable for Kubota B6200 tractors. Web We stock a wide range of high quality replacement tractor engine spare parts to suit.
Livraison gratuite voir cond. The Kubota B6200 Tractor was manufactured between 1983. Web Kubota b6200 power moteur brut.
Web Kubota B6200 Overview Engine Transmission Dimensions Photos Attachments Photos. Web All genuine Kubota parts are designed and manufactured to strict factory standards in. Safety is key to any mower or zero turn mower and obtaining and.
Agriline Products stock a. Web Kubota Parts Lookup Quick Reference Guide Utilize this reference guide to access all. Livraison gratuite voir cond.
15 hp 112 kw prise de force revendiqué. Ad Parcourez notre univers de bricolage. Parts for kubota B7200 tractor 1-48 of 273 results for parts for kubota.
Bonnes affaires sur les kubota pièces détachées dans bricolage sur Amazon. Web Glow Plug Indicator fits Kubota B6200 B6200 B6200 L275 L275 L275 L235 L235 L235.
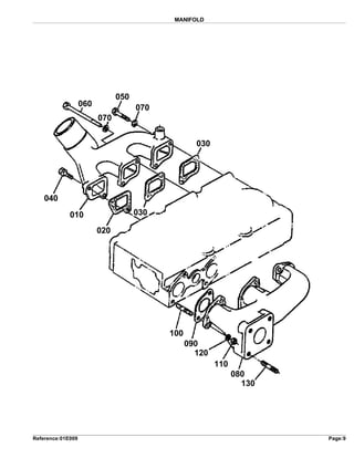
Kubota B6200 D Tractor Parts Catalogue Manual
Find Kubota B6200 B Series Compact Tractor Parts
Kubota B6200 Price Specs Weight Review Attachments 2022
Kubota B6200 Compact Tractor Farm Parts Store
Kubota B6200 Specifications Attachments
Buy Kubota B6200 Parts From Our Extensive Parts Catalogue Farmingparts Com
Kubota B6200 Price Specs Weight Review Attachments 2022
Kubota B6200 D Tractor Parts Catalogue Manual
Live In Person Farm Equipment Auction For Diane Schiestel W Internet Bidding On Major Equipment
Compact Tractor Kubota B6200 4wd With Front Loader Overhauled And Repainted Motorgerate Fritzsch Gmbh
Find Kubota B6200 B Series Compact Tractor Parts
Kubota B6200 Tractor Operations Parts Manuals 250 Pages Etsy Canada
Ersatzteile Fur Kubota Kleintraktor B6200 Kubota Teile
Kubota B6200 D Tractor Parts Catalogue Manual
Kubota B6200 D Tractor Parts Catalogue Manual
Ersatzteile Fur Kubota Kleintraktor B6200 Kubota Teile
Ersatzteile Fur Kubota Kleintraktor B6200 Kubota Teile